[go: up one dir, main page]

Leonid Keselman

I am a PhD student at the Robotics Institute, part of the School of Computer Science at Carnegie Mellon University, where I work on 3D computer vision. My PhD advisor is Martial Hebert.

From 2011 to 2017, I worked at Intel, as part of Intel RealSense. I primarily designed computer vision algorithms for efficient hardware ASICs, including the Intel RealSense R200 and D400 RGB-D sensors. Additionally, I worked on software APIs, active illumination systems, human-computer interaction devices, and helped develop demos for trade shows, including CES 2012-2016.

I have an MS in Computer Science (AI focus) from Stanford University, where I was a research assistant for Silvio Savarese and a teaching assistant for Fei-Fei Li (CS131 & CS231N). I have a BS in EECS from UC Berkeley, where I worked in Kris Pister's lab.

Email  /  GitHub  /  Google Scholar  /  LinkedIn

profile photo

Research

I'm interested in computer vision, machine learning, optimization, graphics and robotics.

project image

Flexible Techniques for Differentiable Rendering with 3D Gaussians


Leonid Keselman, Martial Hebert
arXiv, 2023
arxiv / code / website /

We show how shape reconstruction with 3D Gaussians can be expanded to include differentiable optical flow, colored mesh exports and more.

project image

Optimizing Algorithms From Pairwise User Preferences


Leonid Keselman, Katherine Shih, Martial Hebert, Aaron Steinfeld
International Conference on Intelligent Robots and Systems, 2023
arxiv / code / website /

We show how to perform efficient black-box optimization of algorithm configuration from user preferences. Results include Intel RealSense stereo cameras and a robot social navigation policy.

project image

Discovering Multiple Algorithm Configurations


Leonid Keselman, Martial Hebert
International Conference on Robotics and Automation, 2023
arxiv / code / website / youtube /

We show the benefits of discovering an ensemble of configurations for a given algorithm during the course of optimization. Results on stereo, planning and visual odometry.

project image

Fuzzy Metaballs: Approximate Differentiable Rendering with Algebraic Surfaces


Leonid Keselman, Martial Hebert
European Conference on Computer Vision (Oral), 2022
arxiv / code / website / youtube /

An approximate differentiable renderer for a compact, interpretable representation, which we call Fuzzy Metaballs. Our approximate renderer focuses on rendering shapes via depth maps and silhouettes. It sacrifices fidelity for utility, producing fast runtimes and high-quality gradient information that can be used to solve vision tasks.

project image

Venue Analytics: A Simple Alternative to Citation-Based Metrics


Leonid Keselman
ACM/IEEE Joint Conference on Digital Libraries, 2019
arxiv / code / slides / website /

A bibliometric/scientometric project. Our main two results are a method of assigning value to all venues in computer science and a method to organize them into distinct subfields, all without using citation data. The resulting venue scores can be used to rank universities’ by scholarly output, and produce a responsive author-level metric.

project image

Direct Fitting of Gaussian Mixture Models


Leonid Keselman, Martial Hebert
Computer and Robot Vision Conference, 2019
arxiv / code / slides / website /

A formulation for fitting Gaussian Mixture Models (GMMs) directly to geometric objects, such as a triangular mesh. This method produces more robust results and produces an improvement in 3D registration for both meshes and RGB-D frames.

project image

Intel RealSense Stereoscopic Depth Cameras


Leonid Keselman, John Iselin Woodfill, Anders Grunnet-Jepsen, Achintya Bhowmik
CVPR Workshops (Computational Cameras and Displays), 2017
arxiv /

Technical and design details of the Intel RealSense R200 and D400 series

project image

Rigid-body Dynamics for Articulated Mesh Tracking


Leonid Keselman, Sterling Orsten, Stan Melax
CVPR Workshops (HANDS), 2015
slides /

An invited talk for the HANDS 2015 workshop at CVPR 2015. This includes further details about the efficiency of our rigid-body solver, our machine-learning tools, and some details about our data annotation process.

project image

Dynamics Based Hand Tracking


Stan Melax, Leonid Keselman, Sterling Orsten
Graphics Interfaces, 2013
arxiv / code /

Using a physics engine (e.g. a dynamics solver) to track 3D articulated objects in real-time.

project image

Dynamics Based Hand Tracking


Stan Melax, Leonid Keselman, Sterling Orsten
ACM SIGGRAPH Symposium on Interactive 3D Graphics and Games, 2013
poster /

A tracking algorithm that was real-time on a consumer laptop. Won Best Poster Award.




Intel Projects

Besides my work on the RealSense depth sensors and the publications above, a sampling of my publicly disclosed work

project image

Intel RealSense 400


Intel
2016-08-15

My responsibilities included system performance, components of the stereo algorithm on the imaging ASIC, and contributions to the design of laser projector pattern.

project image

Compact VCSEL Projector


Intel
2016-06-27
patent / patent #2 / patent #3 /

A low-cost dense, configurable projector system for RGB-D depth sensors.

project image

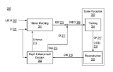
Depth Image Enhancement


Intel
2015-08-06
patent /

Algorithms to filter, enhance and clean-up RGB-D data streams.

project image

Real-time Box Measurement


Intel
2015-04-08
video / video #2 /

Using a single depth sensor, real-time detection of cuboids, accurate estimation of their dimensions, and even some bin-packing.

project image

DashPoint: A low-cost, low-power human interface device


Intel
2013-06-07
patent / patent #2 /

Finger tracking on a microcontroller, with optics tricks and some HCI ideas

project image

Stereoscopic depth reconstruction with probabilistic pixel correspondence search


Intel
2012-07-24
patent /

A fast method for performing stereo depth maps.




Other Projects

These include coursework, side projects and unpublished research work.

project image

Dice Stacking: A Dynamic Manipulation Task


CMU 16-741 Mechanics of Manipulation
2018-12-05
paper / video / code /

With Hunter Goforth, we designed a manipulation task and solved it with imitation learning.

project image

Introspective Neural Networks


CMU 16-824: Visual Learning and Recognition
2018-05-15
paper /

Using pre-trained neural networks to improve fine grained recognition via style transfer.

project image

Stochastic Sampling of Parametric Policies


CMU 16-745: Dynamic Optimization
2018-05-05
paper /

Using a very simple algorithm to solve some very simple environments

project image

Optimizing for Physical Simulation


CMU 16-745: Dynamic Optimization
2018-03-22
code /

With Chris Atkeson and Alex Spitzer. Using optimizers to match an observed trajectory.

project image

A Maze Bot


Stanford CS225A: Experimental Robotics
2017-06-12
paper / video / video #2 /

Making a 6-DoF PUMA arm solve a maze with real-time vision and tracking.

project image

Learning Implicit Communication Strategies


Stanford CS234: Deep Reinforcement Learning
2017-06-10

Work with Aaron Goodman on used reinforcement learning to discover implicit collusion strategies in the context of an iterated prisoner’s dilemma.

project image

Computational models for text summarization


Stanford CS224N: Natural Language Processing
2017-03-18
paper / video / code / poster /

Work with Ludwig Schubert on simplified encoders stages for text summarization.

project image

Superresolution Micrscopy


Stanford CS371: Computational Biology in Four Dimensions
2017-03-16
code / slides /

An implementation of Faster STORM using compressed sensing.

project image

Automatically building Restaurant Ontologies


Stanford CS270: Modeling Biomedical Systems
2017-03-15
paper / poster /

Using the Yelp dataset of reviews to model the semantics and relationships between cuisines, businesses and other properties useful for restaurant recommendations.

project image

Beyond Correlation Networks for the Financial Market


Stanford CS224W: Social and Information Network Analysis
2016-12-07
paper /

Using graph models, we track the development of financial networks over the 20th century.

project image

Gradient-learned Models for Stereo Matching


Stanford CS231A: Computer Vision, From 3D Reconstruction to Recognition
2016-06-07
paper / code /

Some re-implementations of standard stereo correspondence algorithms, along with experiments using classification for stereo matching.

project image

Multimodal Natural Language Inference


Stanford CS224U: Natural Language Understanding
2016-06-06
paper / video /

We explored how natural language inference tasks can be augmented with visual data.

project image

CNNs for 3D Model Classification


Stanford CS231n: Convolutional Neural Networks for Visual Recognition
2016-03-08
paper / poster /

3D shape classification by learning an embedding function into a 2D image and using a pre-trained ImageNet network. At the time, got state-of-the-art results for single-view classification on ShapeNet40.

project image

Wide-angle Stereo Lenses


Stanford CS448I: Computational Imaging and Display
2016-03-07
paper / poster /

We introduce various projection functions in the analysis of stereoscopic depth sensors.

project image

Doctor Bayes


Stanford CS221: Artificial Intelligence
2015-12-12
website / paper / code / poster /

Detecting disease from a short description of symptoms. In some small testing, obtained nearly 90% top 5 accuracy and about 60% top 1 accuracy

project image

Level-set based tracking and segmentation


Stanford CS279: Structure and Organization of Biomolecules and Cells
2015-12-04
paper / code /

We implemented a detection and deformable tracking pipeline for red blood cells.

project image

Dequantization of Depth Data


Other
2015-04-22
code /

An O(1) time algorithm for producing smooth normals for quantized data, such as the Kinect.

project image

Golf swing monitoring


Other
2011-07-21

Work with Ankur Mehta, built a demonstration platform that used wireless low-weight, low-cost sensor platforms to monitor a golf swing.

project image

Project Tetra: Collaborative robot state estimation


UC Berkeley EE149: Embedded Systems
2011-07-21

With Humphrey Hu, Ryan Julian, and Eric Yuan, a project to show the efficacy of multiple-robot collaborative state estimation. Using Wiimote cameras, mobile robot platforms, and real-time wireless communication.

project image

GINA: Low power design


UC Berkeley
2010-08-22

For testing and validating the functionality of the GINA (Guidance and Inertial NAvigation) mote, a 1.6 gram sensor platform.

project image

GINA: Wireless sensor platform


UC Berkeley
2010-06-22

I helped Anita Flynn and Thomas Watteyne build these small sensors and wrote firmware.


Design and source code from Jon Barron's website